偉克多工作室---VCMM 聲控模組---
有關偉克多|最新消息|8051 C工作創業課程|LINE服務|會員|檔案下載|技術諮詢|訂購產品|回首頁
聲控車、聲控機器人、聲控電子寵物、手機聲控撥號...神奇嗎? 想設計神奇的聲控專題嗎?
特定語者 95 % 高辨認率,聲控介面,不限語言,立即錄音辨認,訓練過程錄什麼音,辨認時
就認得這些音,說台語、客家話、英文都可以辨認,馬上可以錄音來做實驗。
滿足您對聲控的好奇心及求知欲.....只要您懂 8051 單晶片 或Arduino !
開放式聲控實驗應用模組 VCMM 正式推出....讓您實現 "芝麻開門" 的夢想...
初學者做專題8051硬體不熟、軟體C不是很會寫,到底是硬體不會動?
還是軟體C有bug?還要燒錄程式進行功能驗證,實在有夠煩!
雲端專題製作—驗證,由
USB下載8051 程式碼可以有效製作專題!
*VCMM由 USB下載8051 8KB程式碼(設計
*支援雲端專題製作—驗證 * [免費LINE技術諮詢ID avic8051]


門市有售 [免費LINE技術諮詢ID
avic8051]
*品名:VCMM 聲控模組 專業版
(含
(8051+聲控晶片RSC-300) 由 USB下載8051 8KB程式碼(設計
□出貨內容:VCMM 控制板、小型喇叭、軟體、USB下載器
*品名:VCMM_S 聲控模組 應用版
(不含
由 USB下載8051 8KB程式碼(設計
□出貨內容:VCMM 控制板、小型喇叭、軟體、USB下載器
*VCMM規格及功能:
□利用本套系統可以自行設計獨立操作型特定語者聲控系統,產品附加價值高
□系統由 8051 及聲控晶片
RSC-300 (TQFP 64 PIN包裝)
□ 8051 使用 4 條 I/O 線來控制聲控晶片
□本系統適合特定語者的單音、字、詞語音辨識
□不限定說話語言,國語、台語、英語皆可
□具有自動語音輸入偵測的功能
□特定語者辨識率可達 95% 以上,反應時間小於
1 秒
□系統參數及語音參考樣本一旦輸入後資料可以長久保存
□系統採用模組化設計,擴充性佳,可適合不同的硬體工作平台
□線上訓練輸入的語音可以壓縮成語音資料,而由系統說出來當作辨認結果確認
□系統包含有英文的語音提示語做語音動作引導
□系統展示 5 組語音辨認功能,最多可以擴充控制到 60 組語音辨認
□內建 4 只按鍵開關及串列通訊介面
□提供完整 8051 控制介面及聲控晶片電路圖
□含 8051及Arduino 串列控制應用範例程式
□可擴充軟硬體功能,做進一步產品設計或聲控專題製作
□可應用在各種相關的聲控專題製作中,包括聲控家電、聲控紅外線家電、聲控遙控車、
聲控機器人、聲控電子寵物、聲控撥號.....等多種聲控應用場合都可以使用
□提供原廠晶片技術資料 PDF 檔
□可以由USB介面下載各式C 語言控制程式來做聲控實驗
□ RSC-300 聲控晶片原始網站 : http://www.sensory.com
支援Arduino 系統----Arduino 變 各種語言 或是聲音 辨識 實驗
VNO控制器---Arduino 進階教材+專題 優惠特價…最新消息
加參考書Arduino語音互動專題製作與應用+光碟---松崗 含20支Arduino 實驗程式
特殊應用及特點
大數據資料查詢及通用相關應用若結合聲控技術,將更方便使用,聲控技術應用可以採用google
的雲端技術平台,但是技術應用及複雜度門檻高。若是屬於個人應用或是不限定語言聲控命令應用,
此時回到聲控基本技術,特定語者特定字彙聲控應用技術便是很好的解決方案。
例如個人使用的聲控撥號系統,及個人查詢系統,經由錄音來即時建立資料庫,過去一些裝置如智慧
手機聲控撥號,聲控汽車音響及裝置,您只需動口,不必動手便可以享受科技帶來的方便。
特定語者特定字彙聲控應用技術,因為是經由錄音來建立資料庫,個人要先錄音才能使用,
有其不方便之處,但是在許多應用上,卻有其方便之處,例如:
□線上直接錄音修改關鍵字,方便實驗測試。
□個人使用,誤辨率低。
□錄音訓練時已經過濾混淆音了,可以減少誤辨的情況發生。
□不限定語言聲控,訓練過程錄什麼音,辨認時就認得這些音,說台語、客家話、英文都
可以辨認,馬上可以錄音來做實驗。
特點:
*不限定語言聲控,應用於語音、聲音、特殊聲音偵測
*只要能錄音,各種聲音都可以做實驗,先錄音,後辨認
*一旦可以聲控,便可以寫 Arduino 程式來控制
*特殊聲音辨認,如嗶嗶嗶聲音偵測,開水燒開--斯斯斯聲音偵測
其實最大方便的地方是不需要寫程式,便直接可以快速做聲控實驗驗證。

為什麼辨認率會高
系統為何辨認率會高?最主要在錄音訓練的時候,當新的語音進入時,會與原先的資料庫做比對,如此一來就可以在錄音階段先將容易混淆的語音過濾掉,避免混淆音資料進入資料庫,使得只有有效資料可存入資料庫。如此一來辨認率自然提高,只要是說話清晰,都可以得到很好的辨認結果。
錄什麼音辨什麼音
只要在錄音階段能夠輸入的語音,便可以在之後辨認出來,這一特性使得聲控
模組的應用領域變大,即使在賣場錄到特殊的聲音,只要能夠入進去到資料庫,將來就可以辨認出來,形成一種特殊的應用,因為連背景雜音也是當作資料庫的一部分,當背景雜音出現時也會辨認出來。
實驗案例
VCMM 適合不限定語言聲控,應用於語音、聲音、特殊聲音偵測應用場合,
只要能錄音,各種聲音都可以做實驗,先錄音,後辨認錄音比對,操作簡單,實驗案例如下:
*中文音辨認
*英文音辨認
*台語辨認
*方言辨認
*聲控車辨認
*嗶嗶聲音偵測
*開水燒開--斯斯聲音偵測
*DO RE ME 音階聲控
*IC 腳位查尋
*聲控零件盒子
*聲控 mp3
*聲控 撥號
*聲控 點歌
可快速驗證辨認效果
VCMM聲控模組的優點之一是可以快速驗證聲控效果及穩定度,只要將辨認的聲音樣品,
透過手機錄音,然後傳送過來做驗證,

在控制端這邊,先把聲音做錄音訓練後,然後做放音驗證,便知道系統是否
可以辨認出特殊聲音。過程如下:
*取得聲音樣本
*錄音到聲控模組中
*驗證聲控效果
只要能將聲音樣本放入資料庫中,系統便可以辨認出來,其中會有語音過濾動作,
以確保聲音的獨特性,測試時進行連續辨認,只要該段語音出現,系統便會偵測出來,
並播放出該段聲音內容。
學生聲控專題製作.....只需要購買 VCMM 便可以開發出高辨認率的聲控專題.......:
[免費LINE技術諮詢ID avic8051]
* 聲控家電 : VCMM
+ 繼電器介面
* 聲控遙控車 : VCMM
+ 紅外線介面 + 自製遙控車
* 聲控紅外線家電 : VCMM
+ 紅外線家電學習介面
* 聲控機器人 : VCMM
+ 紅外線介面 + 自製機器人
* 聲控電子寵物 : VCMM
+ 紅外線介面 + 市售現成的紅外線電子寵物
* 聲控撥號 : VCMM
+ 電話撥號介面
VCMM (聲控模組)在開發上有許多特點:
□使用8051單晶片做控制,開發或應用超方便
□可以由USB介面下載各式C
語言控制程式來做聲控實驗
□含

含
由 USB下載VCM.HEX 到控制板看結果,免燒錄器
及C SDK程式源碼

研究設計語音辨認(聲控)專題 最佳利器
VCMM 在 8051 軟體設計上,分為幾部分:[免費LINE技術諮詢ID avic8051]
A. 8051 核心程式-------------8051
原始程式碼控制聲控晶片
B. 8051 應用範例程式--------8051 串列介面應用範例原始程式,外部控制VCMM範例
C. PC VB 應用範例程式-----PC VB RS232 原始程式,由 PC 下命令來控制 VCMM
□[支援8051 組合語言程式、C 程式] [免費LINE技術諮詢ID avic8051]
*下載 VCMM 使用說明檔 VCM.TXT
*下載 VCMM 8051
C 程式 VCM1.C
*下載 VCMM 8051
vcm 展示程式部份組合語言檔
VCM.ASM
*下載 VCMM 8051
vcm 應用程式組合語言檔
V51.ASM
□串列介面控制指令:
可以經由 RS232介面/TTL 串列介面,直接下達指令控制碼來做實驗,因此,可適合不同的硬體工作平台來做實驗。串列通訊傳輸協定定義如下:
□鮑率9600 bps
□8個資料位元
□沒有同位檢查位元
□1個停止位元。
外部指令控制碼如下:
□控制碼 'l' : 語音聆聽,操作同按下板上 S1 鍵,聽取目前語音命令內容。
□控制碼 'r' : 語音辨認,操作同按下板上 S2 鍵,啟動聲控。
□控制碼 'R' : 靜音進行語音辨認,啟動聲控時沒有提示語。
當外部裝置送出語音辨認控制碼 'r',等待約 1 秒後,VCMM 送出如下控制碼表示辨認結果:
□x:辨認無效,可能是沒有偵測到語音,時間到後回覆辨認無效。
□@ab:ab 為所辨認的語音樣本編號編碼。實際辨認結果編號為 no no=10xa+b
no 有效值為 0~59
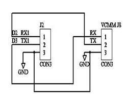
用Arduino 來控制VCMM
外部裝置Arduino經由串列介面與VCMM聲控板串列介面連線,做雙向連線互動控制實驗。實驗電路:


Arduino 應用範例: 參考書Arduino語音互動專題製作與應用+光碟---松崗 含20支Arduino 實驗程式
□Arduino聲控LED---說出「一個燈」:點亮一顆LED,讓Arduino變聲控器。

□Arduino 聲控譜曲---說「DO、RE、ME….」,將簡譜輸入到裝置中。

□Arduino 聲控查詢晶片腳位--- 想知道Arduino
IC腳位,說出「D3腳位」,裝置會說出「第5支腳」。

任何專題實作問題 利用LINE[avic8051],諮詢及服務,都可以得到解答。